盖世汽车讯 据外媒报道,汽车制造商Stellantis于2025年6月12日获得了由美国专利商标局(USPTO)授予的风力发电系统专利。据悉,该专利于2023年12月12日提交。
图片来源:USPTO
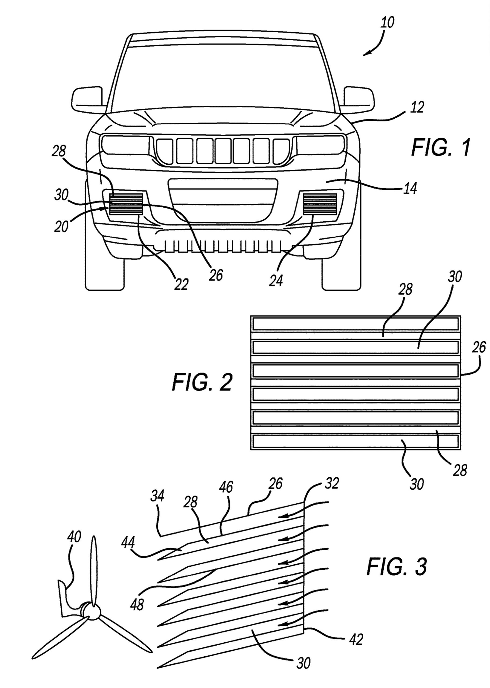
该系统的工作原理是利用车辆前格栅中内置的几个弯曲通道(称为槽)。每个槽的底部都有多个小孔或“开口”。当汽车行驶时,空气被吸入这些开口,并被引导至微型风力涡轮机,涡轮机旋转以产生电能。这些电能可以被储存或用于为车内系统供电。
为了保持气流高效流动,每个开口都连接到一个管道,该管道将空气引导至车辆下方,类似于排气系统。在某些设置中,可以连续安装多个涡轮机,以最大化输出。
这种技术可能并非设计用于为整辆车提供动力,尤其是纯电动汽车(BEV),但它可能有助于为电池充电、为配件供电或降低传统内燃机的交流发电机负载。
Stellantis的专利还提到了设计的灵活性:槽体可以是垂直、水平或倾斜的,所使用的涡轮机被称为“微型空气涡轮机”。根据图示,典型的装置包括格栅上的六个槽体,每个槽体有四个开口,每个开口内都有一个涡轮机。
这是一种创新的方式,充分利用了每辆汽车都会遇到的一个问题:空气阻力。Stellantis不想让风白白浪费,而是希望将风转化为有用的资源。这项技术能否应用于未来的Chrysler、道奇、Jeep®或Ram车型,尤其是在汽车制造商们正在竭尽全力提高效率的当下,这将会非常有趣。
无论最终投入生产还是停留在测试实验室,此项专利都表明Stellantis在能量回收系统方面正在突破常规思维。
